The kisspeptin effects on the thymic regulatory cell compositions (Th17, Treg, iNKT) in vitro
- Authors: Orlova E.G.1, Loginova O.A.1, Gorbunova O.L.1, Shirshev S.V.1
-
Affiliations:
- Perm Federal Research Center, Ural Branch, Russian Academy of Sciences
- Issue: Vol 27, No 4 (2024)
- Pages: 1077-1084
- Section: SHORT COMMUNICATIONS
- Submitted: 28.03.2024
- Accepted: 30.03.2024
- Published: 25.10.2024
- URL: https://rusimmun.ru/jour/article/view/16681
- DOI: https://doi.org/10.46235/1028-7221-16681-TKE
- ID: 16681
Cite item
Full Text
Abstract
The peptide hormone kisspeptin, produced by neurons of the hypothalamus anterior zone, is a key regulator of the gonadostat formation and reproductive function, and has immunoregulatory activity. During pregnancy, kisspeptin is produced by the placenta, presents in the peripheral blood and affects on immune cells that express specific receptors for the hormone, including thymus cells. However, the kisspeptin effects on thymopoiesis during pregnancy have not been studied. The purpose of the work was to study the kisspeptin effect on the thymic regulatory cell composition in vitro. Thymocytes were cultured for 72 hours with kisspeptin at a concentration (9.6 pM) characterizing its maximum level in the peripheral blood during pregnancy, in the presence of CD3/CD28-activating particles and further assessed the regulatory cell composition and Ki-67 and Bcl-2 expression by flow cytometry. The percentage of T regulatory lymphocytes (Treg) was assessed as the percentage of CD4+CD25+FoxP3+ cells; T helper cells producing interleukin17 (Th17), as a percentage of CD4+IL-17A+RORγt+ cells; invariant T lymphocytes with natural killer functions(iNKT), as a percentage of CD3hiVa24Ja18+ cells in thymocyte culture. Dexamethasone (10-6M) was added to induce apoptosis. The effect of kisspeptin-primed thymic plasmacytoid dendritic cells (pDCs) on the regulatory cell composition (Th17, Treg, iNKT) in thymocyte culture was assessed. Thymic pDCs isolated by immunomagnetic separation were cultured for 24 hours with kisspeptin, and then intact autologous thymocytes were added in a ratio of 1:10 and cultured for another 72 hours. The thymocyte incubation of with kisspeptin did not affect the Tregs, iNKT and Th17 percentage in vitro, as well as the expression of Ki-67 and Bcl-2 in these cells. Under dexamethasone influence, the Bcl-2+Th17 percentage in thymocyte cultures with kisspeptin was increased. The Th17 percentage was increased in cultures of kisspeptin-primed pDCs with thymocytes, while the Treg and iNKT number did not change. It can be concluded that kisspeptin has regulatory effects on the Th17 percentage in thymocyte culture in vitro, mediating its effects by influencing thymic pDCs. And kisspeptin acted directly on thymocytes, increases the resistance of thymic Th17 to dexamethasone-induced apoptosis. The obtained results expand our understanding of the hormonal regulation of regulatory cell balance during pregnancy.
Full Text
Работа выполнена при поддержке Государственного задания №124020500027-7.
Введение
Гормон кисспептин, продуцируемый нейронами передней зоны гипоталамуса, стимулирует секрецию гонадотропин-рилизинг гормона (Гн-РГ) и является ключевым регулятором процессов репродукции [3]. Кисспептин проявляет свои биологические эффекты на уровне гипоталамо-гипофизарной системы, но в период беременности активно продуцируется плацентой, присутствует в периферической крови и оказывает системное влияние на клетки иммунной системы [6]. Реализация эффектов гормона осуществляется путем связывания со специфическим рецептором KISS-1R, который относится к классу G-белок сопряженных рецепторов, ассоциированных с Gαq [8]. Рецепторы кисспептина экспрессируется в гипоталамусе, гипофизе, плаценте, яичках, лимфатических узлах и других органах, а также на клетках иммунной системы, что предполагает его значимую иммунорегуляторную функцию [8]. В недавних исследованиях показана экспрессия рецепторов кисспептина на тимоцитах, эпителиальных и дендритных клетках (ДК) тимуса мышей [13]. Показано, что у половозрелых мышей, дефицитных по экспрессии рецепторов к кисспептину, выявляется увеличение размеров и клеточности тимуса по сравнению с обычными мышами [13]. Все вышесказанное свидетельствует об участии кисспептина в регуляции тимического этапа развития Т-лимфоцитов, однако у человека эти процессы не изучены.
Физиологическая беременность характеризуется индуцированной стероидами инволюцией тимуса, формированием периферической иммунной толерантности вследствие подавления опосредованных цитотоксическими Т-клетками иммунных реакций, изменением функциональной активности ДК, инвариантных Т-клеток с функциями натуральных киллеров (iNKT), снижением соотношения интерлейкин-17-продуцирующих Т-хелперов (Th17) / Т-регуляторных лимфоцитов (Treg) [7, 10]. Но, несмотря на инволюцию тимуса, беременные женщины имеют сходные пропорции и абсолютное количество Т-лимфоцитов, как и небеременные [5]. А в ряде работ показано, что к концу беременности количество тимических Treg и общее количество CD4+Т-клеток увеличивается [5, 12]. В наших предыдущих исследованиях установлено, что гормоны, продуцируемые плацентой при беременности, играют значимую роль в регуляции тимического этапа формирования регуляторных и эффекторных популяций лимфоцитов периферической крови, в том числе опосредуя свои эффекты модуляцией функций ДК тимуса [2, 9]. Поэтому цель работы – изучить влияние киcспептина в концентрации, характерной для беременности, на субпопуляционный состав регуляторных клеток (Th17, Treg, iNKT) тимуса in vitro.
Материалы и методы
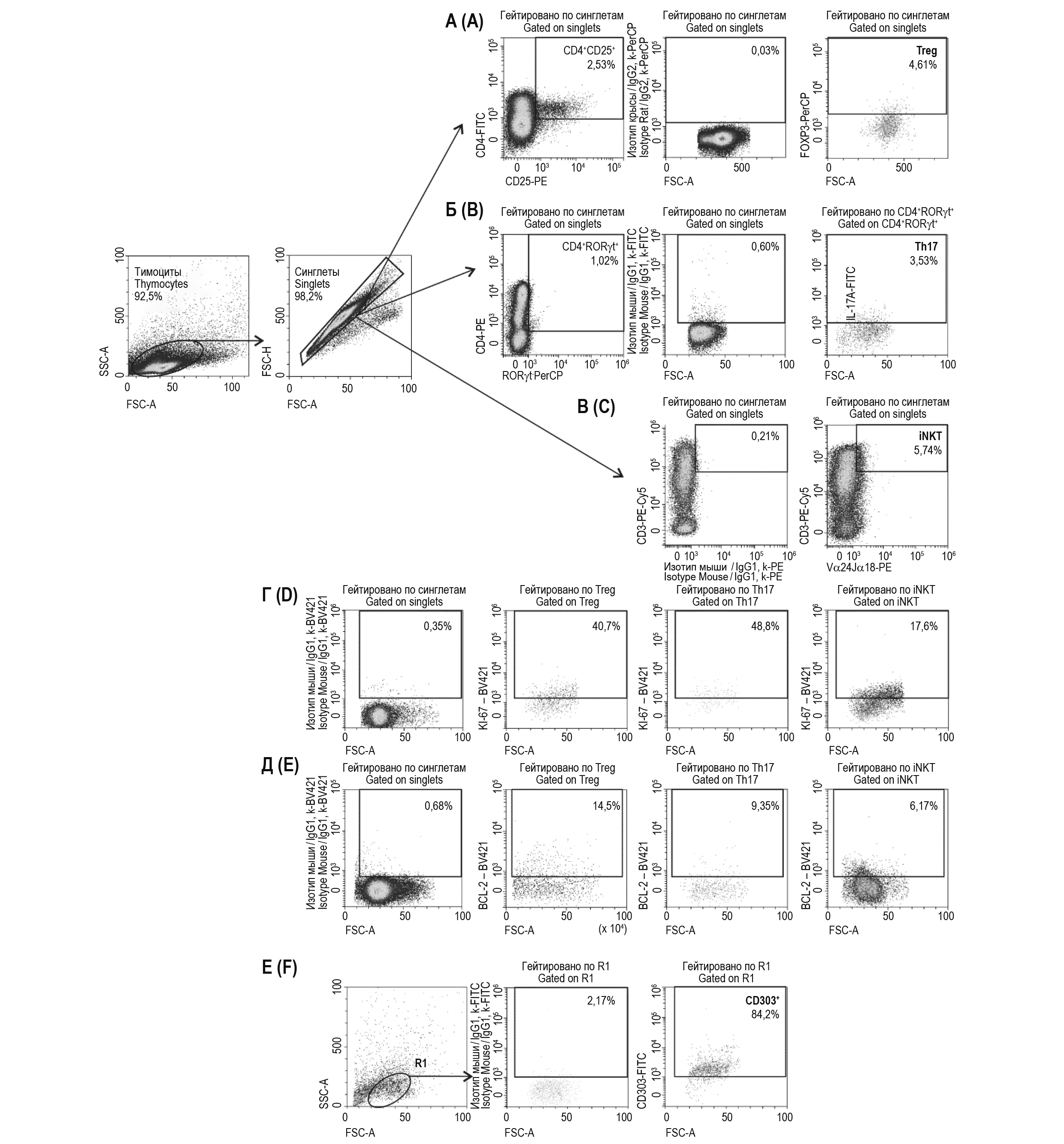
Тимоциты получали из фрагментов тимусов, удаляемых в ходе сердечно-сосудистых операций у детей до года при коррекции врожденных пороков сердца в соответствии с существующей хирургической практикой Федерального краевого центра сердечно-сосудистой хирургии г. Перми. Исследования проводились согласно Хельсинкской декларации ВМА 2000 г. и Конвенции Совета Европы «О правах человека и биомедицине» 1999 г. и одобрено локальным этическим комитетом ИЭГМ УрО РАН (протокол от 01.07.2016). Обязательным критерием включения являлось наличие добровольного согласия со стороны законных представителей несовершеннолетних. Фрагменты тимуса помещали в полную питательную среду (ППС) (RPMI-1640 с GlutaMAX™-I (Gibco, Великобритания), с добавлением пенициллина 50 мкг/мл и стрептомицина 50 нг/мл, 10%-ной фетальной бычьей сыворотки, 25 мм HEPES (N-2-hydroxyethylpiperazine-N0-2-ethanesulfonic acid, Gibco, Великобритания). Тимоциты получали путем легких надавливаний пинцетом на фрагменты тимуса. Полученную суспензию клеток трижды отмывали в фосфатно-солевом буфере, клетки подсчитывали и ресуспендировали в ППС, а затем вносили по 1 мл (1 × 107 кл/мл) в лунки 24-луночного полистиролового планшета и инкубировали с кисспептином 72 ч при 37 °С в условиях 5% СО2. Кисспептин (Metastin, Synthetic, Calbiochem, США) вносили в культуры в концентрации 9,6 пМ, соответствующей его максимальному уровню в периферической крови при беременности [6]. Созревание тимоцитов индуцировали с использованием CD3/CD28-частиц (Gibco, LifeTechnologies AS, Норвегия), обеспечивающих активацию клетки через Т-клеточный рецептор с костимуляцией. Тимические Treg оценивали как процент FoxP3+ в гейте CD4+CD25+ тимоцитов (Human CD4+(FITC)CD25+(PE) regulatory T cell staining reagent, R&D, США; Anti-Human FoxP3 PerCP/Cy5.5, clone PCH101, eBioscience, США). Тимические Th17 определяли как процент IL-17A+ клеток в гейте CD4+RORγt+ тимоцитов (IL-17A FITC BL168, BioLegend, США; CD4 PE, clone RPA-T4, BioLegend, США; Anti-human/mouse RORγt/RORc2 PerCP, R&D, США). Количество iNKT определяли как процент CD3hiVα24Jα18+ клеток (Anti-Human CD3 PE-Cy5, clone UCHT1, eBioscience, США; Anti-Human Vα24Jα18 TCR PE, clone 6B11, eBioscience, США) в гейте лимфоцитов. Пролиферативный потенциал Treg, Th17 и iNKT оценивали по экспрессии Ki-67. Оценивали количество Ki-67-позитивных клеток (Brilliant Violet 421, clone Ki-67, BioLegend, США) в гейте соответствующей клеточной субпопуляции (Treg, Th17, iNKT). Индукцию апоптоза проводили с использованием дексаметазона (10-6 М, KRKA, Словения). После инкубации оценивали количество Treg, Th17 и iNKT, экспрессирующих белок Bcl-2 (Brilliant Violet 421, clone 100, BioLegend, США). По данным литературы, экспрессия белка Bcl-2 ингибирует апоптоз лимфоцитов. Для определения внутриклеточных маркеров использовали набор специализированных буферов для транскрипционных факторов (True-Nuclear™, BioLegend, США) и соответствующий протокол. При анализе учитывали не менее 10 000 клеток. Для контроля неспецифического связывания и выделения негативного по флюоресценции окна использовали соответствующие изотипические контроли. Стратегия гейтирования представлена на рисунке 1.
Рисунок 1. Стратегия гейтирования, используемая для анализа субпопуляций Treg, Th17, iNKT, в культуре тимоцитов, экспрессии Ki-67 и Bcl-2 в этих клетках, а также чистоты выделения тимических пДК
Figure 1. Gating strategy for Treg, Th17, iNKT subpopulations in thymocyte culture, the expression of Ki-67 and Bcl-2 in these cells, as well as the purity of thymic pDC isolation assessment
Примечание к рисунку 1. Выделение лимфоцитарного гейта в тимоцитах по параметрам прямого (FSC-A) и бокового (SSC-H) светорассеивания; дискриминация слипшихся клеток (дуплетов) по параметрам площади и высоты прямого светорассеивания (FSC-A/FSC-H). A – выделение позитивной популяций по маркерам CD4/CD25 в гейте синглетов; изотипический контроль для определения экспрессии FoxP3 в гейте синглетов; определение субпопуляции Treg как процента FoxP3+ в гейте CD4/ CD25-позитивных тимоцитов. Б – выделение CD4/RORγt-позитивной популяций в гейте синглетов; изотипический контроль для определения экспрессии IL-17A в гейте синглетов; определение субпопуляции Th17 как процента IL-17A+ в гейте CD4/ RORγt-позитивных тимоцитов. В – изотипический контроль для определения CD3hi-позитивной популяций в гейте синглетов; определение субпопуляции iNKT как процента CD3hiVa24Ja18+ позитивных тимоцитов. Г – изотипический контроль для определения Ki-67-экспрессирующих клеток в гейте синглетов; определение процента Ki-67-экспрессирующих клеток в популяциях Treg, Th17, iNKT. Д – изотипический контроль для определения Bcl-2-экспрессирующих клеток в гейте синглетов; определение процента Bcl-2-экспрессирующих клеток в популяциях Treg, Th17, iNKT. Е – определение процента CD303+ пДК в моноцитарном гейте после иммуномагнитной сепарации.
На рисунке 1 представлены гистограммы одного репрезентативного эксперимента.
Note to Figure 1. Isolation of the lymphocytic gate in thymocytes according to the forward (FSC-A) and side (SSC-H) scattering parameters; 2, discrimination of singlets according to the FSC-A/FSC-H parameters. A, isolation of CD4+CD25+ subpopulations in singlet gate; isotypic control to determine the expression of FoxP3 in singlet gate; determination of the Treg subpopulation as a percentage of FoxP3+ in the CD4/CD25-positive thymocyte gate. B, isolation of CD4+RORγt+ subpopulations in singlet gate; isotypic control to determine the expression of IL-17A in singlet gate; determination of the Th17 subpopulation as a percentage of IL-17A+ in the gate of CD4+RORγt+ thymocytes. C, isotypic control for the determination of CD3hi positive populations in singlet gate; determination of a subpopulation iNKT as a percentage of CD3hiVα24Jα18+ cells in singlet gate. D, isotypic control for the determination of Ki-67-expressing cells in the singlet gate; determination of the percentage of Ki-67-expressing cells in Treg, Th17, iNKT populations. E, isotypic control for the determination of Bcl-2-expressing cells in the singlet gate; determination of the percentage of Bcl-2-expressing cells in Treg, Th17, iNKT populations. F, determination of the percentage of CD303+ pDC in the monocyte gate after immunomagnetic separation.
Figure 1 shows histograms of one representative experiment.
В отдельной серии экспериментов оценивали влияние примированных кисспептином плазмацитоидных (п) ДК тимуса на формирование Treg, Th17, iNKT в культуре тимоцитов при совместном инкубировании. Для этого кусочки тимуса механически измельчали и полученную суспензию концентрировали центрифугированием на фиколл-верографине с градиентом плотности 1,077 г/см3, после чего суспензию клеток фильтровали с использованием сита для клеток диаметром 30 мкм (Miltenyi Biotec, Германия) для удаления остатков [11]. Клетки из фракции низкой плотности использовали для выделения пДК (2 × 108 клеток/мл). Чистота выделения, контролируемая по экспрессии CD303 (Anti-Human CD303 (BDCA-2) FITC, clone 201A) [11], составляла более 80%. Полученные пДК ресуспендировали в 1 мл ППС и инкубировали по 0,1-1 × 106 кл/мл в присутствии кисспептина 24 ч при 37 °С и 5% СО2. После 24 ч инкубации к пДК добавляли суспензию аутологичных интактных тимоцитов (0,1-1 × 107 кл/мл в 1 мл ППС) и инкубировали клетки совместно ٧٢ ч, после чего анализировали фенотип на проточном цитометре CytoFlex S (Beckman Coulter, США). Контроль жизнеспособности клеток на этапах выделения и инкубации осуществляли с помощью окрашивания трипановым синим в каждой пробе. Жизнеспособность клеток не отличалась в пробах с кисспептином и без (контрольных) и составляла более ٩٥٪ на всех этапах исследования.
Статистический анализ выполнен в программе Prism 9 (GraphPad, США). Проверка нулевой гипотезы о нормальности распределения в выборке проводилась с помощью теста χ2. Результаты выражали в виде медианы с нижней и верхней квартилью – Me (Q0,25-Q0,75). Различия считали значимыми при p < 0,05. Достоверность различий между группами оценивали по критерию Вилкоксона для парных зависимых выборок.
Результаты и обсуждение
В результате проведенных исследований установлено, что инкубация тимоцитов с кисспептином не влияла на процентное содержание Treg, iNKT и Th17 в культуре in vitro (рис. 2). Полученные результаты согласуются с работами других авторов, которые показали, что у мышей, дефицитных по экспрессии рецепторов к кисспептину, не выявлено отличий по количеству Treg в тимусе и изменений в формировании Treg и Th17 из CD4+ предшественников в системе in vitro по сравнению с обычными мышами [13]. Однако этими же авторами выявлено снижение количества Treg в периферической крови у мышей, дефицитных по экспрессии рецепторов к кисспептину [13]. В наших предыдущих исследованиях кисспептин в концентрации, характерной для беременности, усиливал формирование адаптивных Treg, но препятствовал образованию Th17 из наивных CD4+ лимфоцитов периферической крови в условиях направленной индукции их формирования [1]. Данные о влиянии кисспептина на формирование тимических iNKT в литературе отсутствуют. Можно полагать, что киссспептин, действуя через специфические рецепторы, участвует в контроле численности, главным образом адаптивных Treg, однако механизмы требуют дальнейшего изучения. Тимическая дифференцировка подразумевает два основных процесса, контролирующих численность клеток, – пролиферацию и апоптоз, поэтому анализировали экспрессию Ki-67 и Bcl- 2 в тимоцитах после инкубации с кисспептином. Известно, что белок Ki-67 экспрессируется только в ядрах пролиферирующих клеток. Кисспептин во всех исследуемых субпопуляциях снижал количество Ki-67-позитивных клеток (рис. 2), однако эта тенденция не была достоверной, что, по-видимому, связано с малочисленностью выборки. Следует отметить, что все исследуемые субпопуляции клеток являются высокодифференцированными и обладают низкой пролиферативной активностью. Те же закономерности выявлены и для общей популяции CD3+ тимоцитов, и для CD4+ тимоцитов (данные не представлены). В экспериментальной модели на мышах, дефицитных по экспрессии рецепторов к кисспептину, выявлено избыточное усиление пролиферации тимоцитов в ответ стимуляцию Конконовалином А по сравнению с обычными мышами [13]. Можно предполагать, что реализация эффектов кисспептина через его рецепторы ограничивает пролиферацию тимоцитов, однако это требует дальнейшего изучения. В тех же условиях культивирования, кисспептин усиливал экспрессию противоапоптотического фактора Bcl-2 во всех исследуемых популяциях, причем наиболее выражено в Treg (рис. 2), но данная тенденция не была достоверной. В условиях индукции апоптоза дексаметазоном также выявлено увеличение количества клеток, экспрессирующих Bcl-2, во всех исследованных популяциях, но достоверно только для Th17 (рис. 2). Можно полагать, что при беременности в условиях стероид-индуцированной индукции апоптоза тимоцитов, действие кисспептина будет препятствовать апоптозу тимоцитов.
Рисунок 2. Процентное содержание регуляторных клеток (Treg, Th17, iNKT) в культурах тимоцитов, культивировавшихся 72 ч в присутствии CD3/CD28-активирующих частиц и кисспептина (KP) или без кисспептина (C) (А); процент Ki-67-экспрессирующих Treg, Th17, iNKT в этих культурах (Б); процент Bcl-2-экспрессирующих Treg, Th17, iNKT в этих культурах, а также при индукции дексаметазоном (В)
Примечание. Результаты представлены в виде медианы с нижней и верхней квартилью – Me (Q0,25-Q0,75); р – значение парного критерия Вилкоксона. Представлены данные семи независимых экспериментов.
Figure 2. Percentage of regulatory cells (Treg, Th17, iNKT) in thymocyte cultures after 72 h cultivation in the presence of CD3/CD28 activating particles and kisspeptin (KP) or without kisspeptin (C) (A); percentage of Ki-67 expressing Treg, Th17, iNKT in these cultures (B); percentage of Bcl-2-expressing Treg, Th17, iNKT in these cultures, as well as during dexamethasone induction (C)
Note. The results are presented as a median with a lower and upper quartile – Me (Q0.25-Q0.75); p is the value of the paired Wilcoxon criterion. Data from seven independent experiments are presented.
Известно, что в тимической дифференцировке ведущую роль наряду с эпителиальными клетками играют ДК тимуса [4]. В тимусе присутствуют миелоидные (м) и пДК. мДК тимуса в основном осуществляют негативную селекцию тимоцитов [4]. Плотность пДК в тимусе человека выше (более 77%), чем у мДК, и постепенно увеличивается с возрастом человека [4]. Тимические пДК присутствуют как в кортикальной, так и медуллярной зоне тимуса и играют важную роль в пролиферации тимоцитов, дифференцировке Treg, Th17 и iNKT [4]. Ранее в наших исследования показано, что кисспептин оказывал модулирующие эффекты на функции ДК тимуса [2]. Поэтому на следующем этапе работы было изучено влияние примированных кисспептином пДК на дифференцировку тимоцитов. В результате проведенных исследований установлено, что примированные кисспептином пДК увеличивают процент Th17 в культуре тимоцитов, но не влияют на количество Treg и iNKT (рис. 3). Можно полагать, что кисспептин влияет на способность пДК индуцировать формирование Th17 в культуре тимоцитов. В наших предыдущих исследованиях показано, что киспепиптин в аналогичной концентрации модулировал экспрессию мембранных молекул ДК тимуса [2].
Рисунок 3. Процентное содержание регуляторных клеток (Treg, Th17, iNKT) в совместных культурах тимоцитов и плазмацитоидных дендритных клеток тимуса (pDC), примированых кисспептином (KP) или культивировавшихся без кисспетина (C)
Примечание. См. примечание к рисунку 2.
Figure 3. Percentage of regulatory cells (Treg, Th17, iNKT) in cultures of thymocytes and plasmacytoid dendritic cells of the thymus (pDC) primed with kisspeptin (KP) or cultured without kisspetin (С)
Note. As for Figure 2.
В целом можно заключить, что кисспептин регулирует процентное содержание Th17 в культуре тимоцитов человека in vitro, опосредуя свои эффекты влиянием на пДК тимуса. А действуя непосредственно на тимоциты, увеличивает устойчивость тимических Th17 к дексаметазон-индуцированному апоптозу. Полученные результаты расширяют наши представления о гормональной регуляции баланса регуляторных клеток при беременности, что критично для ее успешного завершения.
Благодарности
Авторы выражают глубокую благодарность Логиновой Наталье Павловне и Шехмаметьеву Роману Маратовичу за помощь в работе с клиническими образцами.
About the authors
E. G. Orlova
Perm Federal Research Center, Ural Branch, Russian Academy of Sciences
Author for correspondence.
Email: orlova_katy@mail.ru
PhD, MD (Biology), Leading Research Associate, Laboratory of Immunoregulation, Institute of Ecology and Genetic of Microorganisms
Russian Federation, 13 Golev St, Perm, 614081O. A. Loginova
Perm Federal Research Center, Ural Branch, Russian Academy of Sciences
Email: orlova_katy@mail.ru
PhD (Biology), Junior Research Associate, Laboratory of Immunoregulation, Institute of Ecology and Genetic of Microorganisms
Russian Federation, 13 Golev St, Perm, 614081O. L. Gorbunova
Perm Federal Research Center, Ural Branch, Russian Academy of Sciences
Email: orlova_katy@mail.ru
PhD (Biology), Research Associate, Laboratory of Immunoregulation, Institute of Ecology and Genetic of Microorganisms
Russian Federation, 13 Golev St, Perm, 614081S. V. Shirshev
Perm Federal Research Center, Ural Branch, Russian Academy of Sciences
Email: shirshev@iegm.ru
PhD, MD (Medicine), Head, Laboratory of Immunoregulation, Institute of Ecology and Genetic of Microorganisms
Russian Federation, 13 Golev St, Perm, 614081References
- Горбунова О.Л., Ширшев С.В. Роль кисспептина в формировании иммунологической толерантности при беременности // Доклады АН, 2014. Т. 457, № 4. С. 494-497. [Gorbunova O.L., Shirshev S.V. The role of kisspeptin in immune tolerance formation during pregnancy. Doklady akademii nauk = Reports of the Academy of Sciences, 2014, Vol. 457, no. 1, pp. 494-497. (In Russ.)]
- Ширшев С.В., Орлова Е.Г., Логинова О.А., Некрасова И.В., Горбунова О.Л., Масленникова И.Л. Гормональная регуляция дифференцировки дендритных клеток тимуса // Бюллетень экспериментальной биологии и медицины, 2018. Т. 165, № 2. С. 193-197. [Shirshev S.V., Orlova E.G., Loginova O.A., Nekrasova I.V., Gorbunova O.L., Maslennikova I.L. Hormonal Regulation of Dendritic Cell Differentiation in the Thymus. Byulleten eksperimentalnoy biologii i meditsiny = Bulletin of Experimental Biology and Medicine, 2018, Vol. 165, no. 2, pp. 193-197. (In Russ.)]
- Dhillo W.S., Murphy K.G., Bloom S.R. The neuroendocrine physiology of kisspeptin in the human. Rev. Endocr. Metab. Disord., 2007, Vol. 8, no. 1, pp. 41-46.
- Evans V.A., Lal L., Akkina R., Solomon A., Wright E., Lewin S.R., Cameron P.U. Thymic plasmacytoid dendritic cells are susceptible to productive HIV-1 infection and efficiently transfer R5 HIV-1 to thymocytes in vitro. Retrovirology, 2011, Vol. 8, 43. doi: 10.1186/1742-4690-8-43.
- Hellberg S., Mehta R.B., Forsberg A. et al. Maintained thymic output of conventional and regulatory T cells during human pregnancy. J. Allergy Clin. Immunol., 2019, Vol. 143, no. 2, pp. 771-775.e7.
- Horikoshi Y., Matsumoto H., Takatsu Y., Ohtaki T., Kitada C., Usuki S., Fujino M. Dramatic elevation of plasma metastin concentrations in human pregnancy: metastin as a novel placenta-derived hormone in humans. J. Clin. Endocrinol. Metab., 2003, Vol. 88, no. 2, pp. 914-919.
- Khalaf W.S., Mahmoud M.R.A, Elkhatib W.F., Hashem H.R., Soliman W.E. Phenotypic characterization of NKT-like cells and evaluation of specifically related cytokines for the prediction of unexplained recurrent miscarriage. Heliyon, 2021, Vol. 7, no. 11, e08409. doi: 10.1016/j.heliyon.2021.e08409.
- Ohtaki T., Shintani Y., Honda S., Matsumoto H., Hori A., Kanehashi K., Terao Y., Kumano S., Takatsu Y., Masuda Y., Ishibashi Y., Watanabe T., Asada M., Yamada T., Suenaga M., Kitada C., Usuki S., Kurokawa T., Onda H., Nishimura O., Fujino M. Metastasis suppressor gene KiSS-1 encodes peptide ligand of a G-protein-coupled receptor. Nature, 2001, Vol. 411, no. 6837, pp. 613-617.
- Orlova E., Loginova O., Shirshev S. Leptin regulates thymic plasmacytoid dendritic cell ability to influence the thymocyte distribution in vitro. Int. Immunopharmacol., 2023, Vol. 117, 109912. doi: 10.1016/j.intimp.2023.109912.
- Saito S., Nakashima A., Shima T., Ito M. Th1/Th2/Th17 and regulatory T-cell paradigm in pregnancy. Am. J. Reprod. Immunol., 2010, Vol. 63, no. 6, pp. 601-610.
- Stoeckle C., Rota I.A., Tolosa E., Haller C., Melms A., Adamopoulou E. Isolation of myeloid dendritic cells and epithelial cells from human thymus. J. Vis. Exp., 2013, Vol. 79, e50951. doi: 10.3791/50951.
- Wagner M.I., Mai C., Schmitt E., Mahnke K., Meuer S., Eckstein V., Ho A.D., Schaier M., Zeier M., Spratte J., Fluhr H., Steinborn A. The role of recent thymic emigrant-regulatory T-cell (RTE-Treg) differentiation during pregnancy. Immunol. Cell Biol., 2015, Vol. 93, no. 10, pp. 858-867.
- Xing R., Liu F., Yang Y., Cui X., Wang T., Xie L., Zhao Y., Fang L., Yi T., Zheng B., Liu M., Chen H. GPR54 deficiency reduces the Treg population and aggravates experimental autoimmune encephalomyelitis in mice. Sci. China Life Sci., 2018, Vol. 61, no. 6, pp. 675-687.
Supplementary files






